| 流量范圍 [m3/h] |
Q=1~240m3/h |
| 揚程 [m] | H=6~400m |
| 電機功率 [kW] | N=0.37kW~110kW |
| 水泵效率 [%] | η=32%~75% |
| 液體溫度 [℃] | -15℃~+120℃ |
| 進出口聯接圓法蘭規格 | DN25~DN150 |
| 說明 |
QDL2 |
QDL4 | QDL8 | QDL12 | QDL16 | QDL20 | QDL30 | QDL42 | QDL60 | QDL90 | QDL120 | QDL150 | QDL200 |
| 頻率 | 50HZ | ||||||||||||
|
額定流量[m3/h] |
2 | 4 | 8 | 12 | 16 | 20 | 30 | 42 | 60 | 90 | 120 | 150 | 200 |
| 流量范圍 [m3/h] | 1~3.6 |
1.8~7 |
5~11 |
8~16 |
8~22 |
12~28 |
22~40 |
30~54 |
45~75 |
72~108 |
60~150 |
80~180 |
100~240 |
| 最大壓力[bar] | 21 | 21 | 24 | 23 | 24 | 25 | 26 | 26 | 24 | 18 | 18 | 18 | 18 |
| 電機功率[kW] | 0.37~4 | 0.37~4 | 0.75~7.5 | 0.75~11 | 1.1~15 | 1.1~18.5 | 2.2~30 | 3~37 | 4~45 | 11~55 | 11~75 | 11~75 | 18.5~110 |
| 溫度范圍[℃] | -15℃~+120℃ | ||||||||||||
| 類型 | |||||||||||||
|
QDL |
● | ● | ● | ● | ● | ● | ● | ● | ● | ● | ● | ● | ● |
| QDLF | ● | ● | ● | ● | ● | ● | ● | ● | ● | ● | ● | ● | ● |
| 進出口口徑: | DN25 | DN32 | DN40 | DN50 | DN50 | DN50 | DN65 | DN80 | DN100 | DN100 | DN125 | DN125 | DN150 |



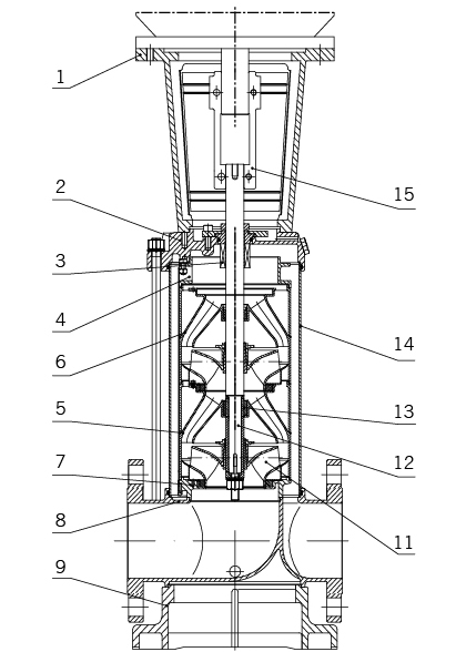
| 序號 | 名稱 | 材料 |
| 1 | 支架 | 鑄鐵 |
| 3 | 機械密封 | |
| 4 | 出水體 | 不銹鋼 |
| 5 | 支撐導葉 | 不銹鋼 |
| 6 | 導葉 | 不銹鋼 |
| 7 | 導流器 | 不銹鋼 |
| 9 | 底座 | 鑄鐵 |
| 11 | 葉輪 | 不銹鋼 |
| 12 | 軸 | 不銹鋼 |
| 13 | 軸套 | 碳化鎢 |
| 14 | 耐壓筒 | 不銹鋼 |
| 15 | 聯軸器 | 碳鋼 |
| 橡膠零件 | NBR | |
| QDLF | ||
| 2 | 泵頭 | 鑄鐵 |
| 8 | 進出水段 | 鑄鐵 |
| QDL | ||
| 2 | 泵頭 | 不銹鋼 |
| 8 | 進出水段 | 不銹鋼 |
性能曲線

性能表
| 型號 |
配用電機 (kw) |
流量 Q(m3/h) |
60 | 70 | 80 | 90 | 100 | 110 | 120 | 130 | 140 | 150 |
| QDL120-10 | 11 |
揚程 H(m) |
22 | 22 | 22 | 21 | 20.5 | 19.5 | 18.5 | 17 | 16 | 15 |
| QDL120-20-2 | 15 | 34 | 34 | 33 | 31 | 30.2 | 30 | 28.5 | 27 | 25 | 24 | |
| QDL120-20-1 | 18.5 | 41 | 40 | 40 | 39 | 37 | 36.5 | 34.5 | 32.5 | 30 | 27.5 | |
| QDL120-20 | 22 | 46 | 45 | 45 | 44 | 42.4 | 41 | 40 | 38 | 36 | 33.5 | |
| QDL120-30-2 | 30 | 57 | 56 | 55 | 54 | 52 | 51 | 49 | 46.5 | 43.5 | 41 | |
| QDL120-30-1 | 30 | 64 | 63 | 62 | 60 | 58.5 | 57.5 | 55.5 | 52 | 49 | 46 | |
| QDL120-30 | 30 | 69.5 | 69 | 68 | 66 | 64.4 | 62.5 | 61 | 57.5 | 54.5 | 51 | |
| QDL120-40-2 | 37 | 80.5 | 79 | 78 | 76 | 73.5 | 72 | 69 | 66 | 61.5 | 58 | |
| QDL120-40-1 | 37 | 87 | 86 | 85 | 82 | 80 | 78 | 76 | 72 | 68 | 64.5 | |
| QDL120-40 | 45 | 92.5 | 91 | 90 | 88 | 85.5 | 83 | 81 | 77 | 73 | 68.5 | |
| QDL120-50-2 | 45 | 105 | 103 | 101 | 99 | 96 | 93 | 90 | 85.5 | 80.5 | 75.5 | |
| QDL120-50-1 | 45 | 111 | 109 | 108 | 105 | 102 | 100 | 97 | 92 | 86.5 | 83 | |
| QDL120-50 | 55 | 116 | 114 | 113 | 110 | 107.5 | 104.5 | 101.5 | 96 | 91 | 86 | |
| QDL120-60-2 | 55 | 128 | 126 | 123 | 121 | 117.3 | 113.5 | 110 | 104.5 | 98.5 | 92.5 | |
| QDL120-60-1 | 55 | 134 | 132 | 131 | 127 | 124 | 121 | 118 | 111 | 105 | 100 | |
| QDL120-60 | 75 | 139 | 137 | 135 | 132 | 128.8 | 126 | 123 | 116 | 110 | 104 | |
| QDL120-70-2 | 75 | 151 | 148 | 146 | 143 | 138.6 | 134 | 130 | 123.5 | 116.5 | 109 | |
| QDL120-70-1 | 75 | 157 | 154 | 152 | 149 | 144.5 | 141 | 137.5 | 130 | 123 | 116.5 | |
| QDL120-70 | 75 | 163 | 161 | 159 | 155 | 151 | 148 | 145 | 137 | 129 | 123 |
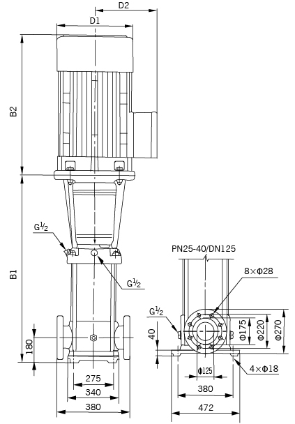
安裝圖

尺寸和重量
| 型號 | 尺寸(mm) |
重量 (kg) |
||||
| B1 | B2 | B1+B2 | P/AC | AD | ||
| QDL120-10 | 840 | 500 | 1340 | 330 | 255 | 230 |
| QDL120-20-2 | 1000 | 500 | 1500 | 330 | 255 | 245 |
| QDL120-20-1 | 1000 | 550 | 1550 | 330 | 255 | 250 |
| QDL120-20 | 1000 | 575 | 1575 | 360 | 285 | 285 |
| QDL120-30-2 | 1160 | 650 | 1810 | 400 | 310 | 360 |
| QDL120-30-1 | 1160 | 650 | 1810 | 400 | 310 | 360 |
| QDL120-30 | 1160 | 650 | 1810 | 400 | 310 | 360 |
| QDL120-40-2 | 1320 | 650 | 1970 | 400 | 310 | 400 |
| QDL120-40-1 | 1320 | 650 | 1970 | 400 | 310 | 400 |
| QDL120-40 | 1320 | 685 | 2005 | 460 | 340 | 460 |
| QDL120-50-2 | 1480 | 685 | 2165 | 460 | 340 | 470 |
| QDL120-50-1 | 1480 | 685 | 2165 | 460 | 340 | 470 |
| QDL120-50 | 1510 | 760 | 2270 | 540 | 370 | 575 |
| QDL120-60-2 | 1670 | 760 | 2430 | 540 | 370 | 585 |
| QDL120-60-1 | 1670 | 760 | 2430 | 540 | 370 | 585 |
| QDL120-60 | 1670 | 845 | 2515 | 580 | 410 | 705 |
| QDL120-70-2 | 1830 | 845 | 2675 | 580 | 410 | 715 |
| QDL120-70-1 | 1830 | 845 | 2675 | 580 | 410 | 715 |
| QDL120-70 | 1830 | 845 | 2675 | 580 | 410 | 715 |